Оглавление
- Виды подключений
- Особенности последовательного подключения
- Основные формулы для выполнения расчетов
- Законы последовательного подключения
- Комбинированное подключение
- Итоги
Трубчатые электронагреватели отличаются высокой эффективностью и широко применяются в промышленности и быту. Тип электрической схемы подключения ТЭНов зависит от их предназначения и необходимости получить заданные параметры тепловыделения. Если два ТЭНА соединить последовательно, то сила тока, проходящего по ним, уменьшится в несколько раз. Это обеспечит более долгий срок службы электронагревателей.
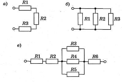
Виды подключений

Виды подключения к сети нескольких электронагревателей (R1, R2, R3, R4, R5 и R6):
а — последовательное, б — параллельное, в — комбинированное,
которое содержит в себе элементы последовательного и параллельного
Нередко возникают ситуации, когда к одному источнику питания подключают два и более нагревателя, с одинаковой или разной мощностью. Может применяться параллельное либо последовательное соединение ТЭНов 220В, а также комбинированный вариант.
Перед выбором окончательного варианта необходимо выполнить необходимые расчеты и учитывать различные особенности, например, то, что если последовательно подключить нагреватели, то выход из строя одного из них приведет к остановке всей системы.
Выбор последовательного подключения актуален при использовании двух нагревателей. Для большего количества приборов чаще используют параллельные или комбинированные схемы, которые являются более надежными. В случае промышленных систем должна разрабатываться специальная проектно-техническая документация, которая проходит проверку и согласования.
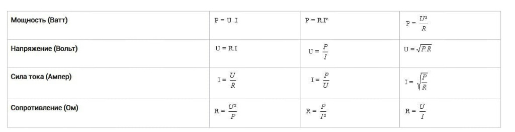
Основные формулы, которые могут понадобиться для выполнения расчетов:

где P — мощность (измеряется в ваттах, Вт), U — напряжение (измеряется в вольтах, В),
I — сила тока (измеряется в амперах, А), R — сопротивление, измеряется в омах, Ом)
Расчет необходимых значений мощности, напряжения, силы тока и сопротивления осуществляется с помощью формул, исходящих из трех составляющих закона Ома. Удобство этого метода позволяет вычислить необходимую величину, зная лишь две других. Например, мощность можно определить следующими способами:
- умножить напряжение на силу тока;
- умножить напряжение на квадрат силы тока;
- разделить возведенное в квадрат напряжение на сопротивление в цепи.
Аналогичными способами можно узнать прочие нужные значения.
Все формулы для расчетов являются общеприменимыми для последовательных и параллельных, а также комбинированных подключений. Используйте их для расчета всех параметров сети и выбора необходимого оборудования.
Особенности последовательного соединения
Каждый из приборов рассчитан на определенную мощность и напряжение от 12 до 380 В. Последовательно соединенные ТЭНЫ 220 В можно подключить даже к бытовой электросети, соблюдая при этом ряд ограничений. Так, через вилку можно подключать оборудование или последовательность приборов, общая мощность которых не превосходит 3.5 кВт, а сила тока — 16 А. Значения могут быть и меньше: эту информацию рекомендуется узнавать из технического паспорта используемого оборудования. Преимуществом последовательного соединения является то, что можно собрать цепь из нескольких приборов, каждый их которых по отдельности рассчитан на меньшее напряжение, чем в сети. Так можно использовать два нагревателя, которые рассчитаны на 127 В, подключив их последовательно в сеть 220 В.
Формула расчета мощности при последовательном подключении базируется на подсчете сопротивления каждого из элементов цепи, а также их общей суммы.
Законы последовательного подключения нагревателей:
- общее сопротивление системы складывается из суммы сопротивлений отдельных элементов
- напряжение на каждый отдельный ТЭН вычисляется по формуле Общее напряжение/Количество ТЭНов (для одинаковых по характеристикам моделей
Последовательное соединение ТЭНов разной мощности также не представляет проблемы, однако необходимо учитывать снижение напряжения на каждом из них, пропорциональное количеству электронагревателей в цепочке.

Пример последовательного соединения электронагревателей в цепи
Комбинированное подключение (последовательно-параллельное)
В ряде случаев применяется последовательно-параллельное, или смешанное, соединение нескольких элементов. Этот тип соединения обеспечивает стабильную работу системы, чтобы она не выходила из строя при отказе одного из нагревателей.
При расчетах мощности и других параметров таких соединений должен применяться поэтапный подход, с первоначальным преобразованием параллельных участков в последовательные, и последующим вычислением суммарных показателей.
Лучшим вариантом будет подача напряжения питания через автоматический выключатель, который устанавливается в щитке, либо в непосредственной близости от нагревательного прибора или иного оборудования. Также необходимо обеспечить надежное заземление и установить УЗО.
Ограничения и преимущества последовательного подключения:
- два ТЭНа соединить последовательно можно с подключением к розетке или через автомат;
- при последовательном соединении можно использовать любое количество нагревателей;
- поломка одного ТЭНа выведет из строя всю цепочку;
- повысить устойчивость системы поможет комбинированное подключение (параллельно-последовательное).
Итоги
Выполнять подключение нагревателей следует с соблюдением всех нормативных правил и требований, техники безопасности. Предварительно следует выполнить тщательный расчет с учетом всех параметров по указанным выше формулам. Для того чтобы все данные были учтены верно, следует обращаться к квалифицированным специалистам из производственной компании «Марион». Вы сможете доверить нам выбор подходящих ТЭНов для конкретных задач и условий эксплуатации, выполнение нужных расчетов и составление оптимальной схемы подключения.
| Оформите заявку на сайте, мы свяжемся с вами в ближайшее время и ответим на все интересующие вопросы. | Заказать изготовление ЗАДАТЬ ВОПРОС |
в наличии на складе
индивидуальному заказу
производства 12 месяцев

